Accéder au compartiment moteur
Werkzeuge
Es werden einige allgemeine Werkzeuge verwendet, um an diesem Gerät zu arbeiten. Du wirst nicht jedes Werkzeug für jeden Vorgang benötigen.
Avant-propos
Ce wiki, encore en cours de complétion à ce jour, a pour but de rassembler publiquement et librement un maximum de sources et de connaissances au sujet des Twingo III Phase 1 et de leurs moteurs respectifs.
Comme toute œuvre humaine, et malgré le soin apporté à celui-ci, il est sujet à des erreurs, au même titre que les schémas réalisés en illustration et/ou complément d'information. Ces erreurs peuvent être des fautes de frappe, des fautes d'orthographe ou bien des informations fausses, mal interprétées sur les diverses sources. C'est pourquoi, comme tout source d'information, ce wiki doit être utilisé en complément et/ou en croisement à d'autres. Votre aide pour corriger, améliorer ce wiki est tout à fait la bienvenue !
Des avis, points de vue subjectifs, conseils/suggestions ainsi que des expériences remontées par les utilisateurs/auteurs sont susceptibles d'être présents dans ce wiki. Ils ne doivent pas être pris comme véridiques d'office et peuvent être tout à fait différents et/ou invalides en fonction d'un nombre de facteurs conséquent. Il peut être très intéressant de les partager: des découvertes peuvent êtres faites et pourraient permettre d'enrichir d'autant plus ce wiki !
Diverses notations et conventions sont utilisées, parfois dans le but de rester en harmonie avec celles utilisées dans la RTA et les diverses sources de ce wiki. Certaines références/notations croisées sont utilisées dans ce wiki.
Certaines informations se trouvent uniquement dans les vues éclatées/tutoriels et seront potentiellement amenées à y être déplacées pour éviter de saturer et/ou pour alléger la page principale du wiki, c'est pourquoi il peut être intéressant d'aller y jeter un œil !
La Twingo de @antoniobiscuit:
De nombreuses références à ma Twingo sont présentes dans ce wiki. En passe de devenir un Labo roulant, elle est comme suit:
- Moteur H4D (1.0 SCe 70) avec modifications très mineures:
- Ajout récent d'une catch-can pour espérer limiter les problèmes de dépôts d'huile dans l'admission.
- Reste du moteur et des pièces sans modifications et entièrement d'origine.
- Passée légalement à l'E85 à 50,000km (Kit Flex Fuel Company), mais fonctionne kit débranché
- 100% d'E85 depuis le passage légal.
- Bougies Iridium (Bosch VR7SI332S).
- Actuellement, huile moteur en norme RN17 RSA (0W40 @ 4.1 HTHS).
- Style de conduite:
- Talon-pointe et rev-matching 100% du temps.
- Régulateur 90% du temps, même en ville.
- Conduite sportive très occasionnelle.
- Trajets longs majoritaires, usage autoroute important.
- Michelin e.Primacy, 16" aux pressions standard (en bar: 2.0AV, 2.5AR).
- Échéances de vidanges variables et raccourcies pour des raisons diverses.
Quelques unes de mes missions (@antoniobiscuit):
- Continuer de compléter au maximum ce Wiki.
- Récupérer les PIDs propriétaires Renault pour obtenir plus d'informations via la prise OBD.
- Collecter continuellement et en masse des informations diverses et les métriques vitales grâce à un programme "Compagnon", développé spécifiquement dans ce but.
- Obtenir l'accès à la cartographie et aux paramètres du calculateur.
- Tenter de comprendre et d'optimiser la cartographie existante sur le rendement (économie de carburant), lorsque le moteur fonctionne à l'E85, et si des perspectives d'améliorations sont possibles.
Plan d'entretien constructeur
Le plan d'entretien suivant provient de la Revue Technique Automobile (RTA) de la Twingo III 1.0 SCe. Les échéances sont données pour un cas d'usage optimal et devront être raccourcies en cas d'usage sévère.
Les cas d'usage sévères concernent un grand nombre de personnes: ils sont très facilement atteignables.
Plan d'entretien constructeur en km et années :
| Opération | 20,000km ou 1 an | 40,000km ou 2ans | 60,000km | 80,000km | 100,000km | 120,000km | 140,000km | 160,000km ou 5 ans |
|---|---|---|---|---|---|---|---|---|
| Contrôles | • | • | • | • | • | • | • | • |
| Refaire les niveaux | • | • | • | • | • | • | • | • |
| Vidange + filtre à huile | • | • | • | • | • | • | • | • |
| Filtre à air | • | • | • | • | • | • | • | • |
| Filtre habitacle | • | • | • | • | ||||
| Bougies d'allumage | • (ou 4 ans) | • | ||||||
| Garnitures, cylindres de roue et tambours de freins arrière | • | • | ||||||
| Liquide de frein | • (ou 3 ans) | |||||||
| Courroie d'accessoires et galets | • (OU 6 ANS !) | |||||||
| Liquide de refroidissement | • |
Niveaux à vérifier et refaire :
- Liquide lave-vitres
- Liquide de freins
- Liquide de refroidissement
Contrôles à effectuer :
Vérifier l'état et/ou l'usure des éléments suivants:
- Balais d'essuie-glace, pare-brise, rétroviseurs, batterie (corrosion)
- Ligne d'échappement
- Système de freinage, plaquettes et disques
- Usure et pression des pneus
- Carrosserie et dessous de la voiture (absence de rouille)
Vérifier l’absence de fuite, l'étanchéité des éléments suivants:
- Moteur
- Boîte de vitesses
- Système de refroidissement
- Système de freinage
- Suspensions avant et arrière
Notes:
Bougies Nickel-Cuivre: Leur remplacement doit être effectué beaucoup plus tôt: entre 15,000 et 20,000km et/ou dès l'apparition des premiers symptômes de problèmes d'allumage.
Usage sévère, facteurs raccourcissant les échéances d'entretien
En cas d'usage sévère, il peut être nécessaire de raccourcir considérablement les intervalles de vidange. Si ne serait-ce que l'un des points suivants est vrai, on se trouve dans un cas d'usage sévère:
- Usages entraînant une dilution de carburant importante:
- Trajets courts.
- Démarrages à froid fréquents.
- Utilisation à froid prolongée (hiver par exemple).
- Conduite sportive.
- Débattu: utilisation d'E85.
- Utilisation urbaine fréquente (démarrages/arrêts répétés, accélérations, pollution).
- Moteur au ralenti pendant des périodes prolongées (ex: taxi, bouchons...).
- Utilisation en zones poussiéreuses (ex: chemins terreux, sableux...).
- Trajets avec une charge importante.
Notes:
E85: il existe un débat à ce sujet, reposant principalement sur des problématiques de dilution de carburant dans l'huile. Il est important de noter que les usages entraînant une dilution de carburant élevée font immédiatement passer, même au E5/E10, en usage sévère. Cette problématique n'est en aucun cas exclusive à l'E85.
LPG/CNG: pourrait être bénéfique sur la durée de vie de l'huile: taux de particules faible et dilution de carburant plus faible, ce carburant étant un gaz. Ne pas dépasser les échéances constructeur maximales dans le doute.
Qu'est-ce que la dilution de carburant ?
L'étanchéité d'un piston est imparfaite: du carburant est susceptible de tomber dans le carter d'huile et particulièrement dans certaines conditions mentionnées précédemment. Si l'huile ne chauffe pas suffisamment (trajet court), il n'a pas le temps de s'en évaporer suffisamment et s'y accumule.
La dilution de carburant (quel qu'il soit) dans l'huile cause un abaissement néfaste de la viscosité et des réactions chimiques impactant la qualité de l'huile.
Recommandations d'entretien additionnelles
Les recommandations suivantes ne sont pas officielles: elles sont basées sur des recommandations de sources diverses et éventuellement pour d'autres véhicules.
Huile de boîte de vitesses: 50 à 60,000km/2 ans. Remplacer immédiatement l'huile si la boîte a un comportement dur et/ou lent.
Injecteurs: Inspecter à chaque vidange et nettoyer si besoin, en particulier sur la moteur H4D. Voir chapitre Injection.
Capteur MAP: nettoyer à chaque vidange, voire plus tôt selon la réponse à la pédale par exemple. @antoniobiscuit : Une différence de comportement peut déjà être ressentie 1,000km après le nettoyage en particulier à bas-régime (rappels: 100% E85 sans boîtier et talon-pointe + rev-matching systématiques).
Boîtier papillon: nettoyer à chaque vidange, voire plus tôt selon la réponse à la pédale par exemple. Voir tutoriel pour le moteur H4D. Le nettoyage du boîtier papillon du H4Bt nécessite de retirer quelques éléments additionnels.
Pneus: voir chapitre Pneumatiques.
Liquide de freins: voir chapitre Purge/Vidange du liquide de freinage.
Si une catch-can est ajoutée: nettoyer impérativement le(s) filtre(s) de celle-ci chaque fois qu'elle est vidée, au risque d'obtenir avec le temps les mêmes symptômes qu'un reniflard HS.
Motorisations
Les Twingo III sont équipées d'un moteur à trois cylindres en ligne (L3) d’environ un litre de cylindrée soit atmosphérique (1.0 SCe, H4D), ou turbo-compressé (0.9 TCe, H4Bt). Il est placé à l'arrière du véhicule, sous le coffre et avec un angle de 49°. Le moteur des Twingo III et Smart Forfour/Two 453 est identique: seule leur dénomination est différente.
Technologies principales :
- Bloc moulé, conçu avec un alliage d'aluminium
- Double arbre à cames (Dual Over Head Camshaft ou DOHC)
- Poussoirs de soupapes hydrauliques DLC (Diamond Like Carbon) et jupes de pistons recouvertes de graphite
- 12 valves, 4 par cylindre: 2 d'admission et 2 d'échappement
- Distribution par chaîne, variable côté admission grâce à un déphaseur d'arbre à cames (Variable Valve Timing ou VVT)
- Injection indirecte multi-point
- Pompe à huile de cylindrée variable
- Cylindres décalés de l'axe du vilebrequin
Spécifications
| Élément | Unité | M281 E10 - H4D SCe 70 | M281 E09 - H4Bt TCe 90 |
|---|---|---|---|
| Cylindrée | cm³ | 999 | 899 |
| Alésage (Bore) | mm | 72.2 | 72.2 |
| Course (Stroke) | mm | 81.3 | 73.1 |
| Alésage / course | φ | 0.888 | 0.988 |
| Ratio de compression | φ | 10.5 | 9.5 |
| Carburant recommandé | N/A | 95 RON, E10 | 95 RON, E10 |
| Norme Euro | N/A | 5 ou 6 | 6 |
| Puissance | kW | 52 | 66 |
| À la vitesse de | rpm | 6,000 | 5,500 |
| Couple | Nm | 91 | 135 |
| À la vitesse de | rpm | 2,850 | 2,500 |
| Pression boost max | bar | N/A | 2.3 |
Cylindre 1: côté distribution.
Ordre d'allumage: 1, 3, 2.
Notes:
- SCe = Smart Control Efficiency et TCe = Turbo Control Efficiency
- RON = Research Octane Number: celà correspond aux indications sur les pompes en Europe.
- H4D: Euro 5 sans Stop & Start et Euro 6 avec Stop & Start sous NEDC
- Euro 6 sous WLTP pour tous les moteurs
Consommation et économie de carburant
Consommations annoncées
Les consommations indiquées proviennent des brochures de Renault. Elles varient en fonction de l'usage réel et du carburant utilisé (+30% avec 100% d'E85).
Cycle NEDC
| Moteur, BVM | 1.0 SCe 70 | 1.0 SCe 70 Stop & Start | 0.9 TCe 90 |
|---|---|---|---|
| CO2 (g/km) | 105 | 95 | 99 |
| Cycle Urbain (l/100km) | 5.6 | 5.0 | 4.9 |
| Cycle extra-urbain (l/100km) | 3.9 | 3.7 | 3.9 |
| Cycle mixte (l/100km) | 4.5 | 4.2 | 4.3 |
Cycle WLTP
| Moteur, BVM | 1.0 SCe 70 -18 | 1.0 SCe 70 Stop & Start - 18 | 0.9 TCe 90 - 18 |
|---|---|---|---|
| CO2 (g/km) | 125 | 108 | 111 |
| Cycle Urbain (l/100km) | 6.8 | 5.6 | 6.1 |
| Cycle extra-urbain (l/100km) | 4.7 | 4.2 | 4.1 |
| Cycle mixte (l/100km) | 5.5 | 4.7 | 4.9 |
Notes:
Les pneus d'origine et utilisés pour l'homologation sont probablement des Continental EcoContact 5 (modèle récurrent sur les images des brochures). Consommation de carburant en jantes 16":
- Avant: Classe B
- Arrière: Classe C
Les huiles utilisées dans le moteur et la boîte de vitesse lors de l'homologation sont probablement les mêmes que celles préconisées.
Il n'est pas impossible que la cartographie des moteurs homologués sous WLTP ait été légèrement améliorée par rapport aux moteurs homologués sous NEDC ou que des modifications très mineures aient été apportées autre part.
Consommations réelles atteignables
Les consommations suivantes ont été atteintes par AntonioBiscuit avec 100% d'E85 avec un moteur H4D, 100% d'E85 sans boitier ni modification.
- Huile moteur: ELF EVOLUTION R-TECH SPORT (0W40, RN17RSA)
- Huile de boîte: ELF NFX (75W)
- Pneus: Michelin e.Primacy neufs (Avant et Arrière) aux pressions recommandées
- Bougies: Bosch Iridium, aux spécifications d'origine
4 personnes à bord, coffre chargé de valises (pire scénario):
- 100km/h: 4.8L/100km TDB, facteur surconso. = 1.3, soit 6.24L/100km réel. Régulateur constant, de Roncq (frontière France/Belgique) à Oostzaan (Pays-Bas), autoroute. Dans ce cas précis, il a été possible de faire un aller-retour France-Amsterdam et une escale à Rotterdam avec un seul et unique plein d'E85 ainsi qu'une marge de quelques litres. Le conducteur doit cependant être très économique. La consommation finale arrivé à la frontière France (Roncq) était de 4.6L/100km TDB, soit 5.98L/100km réel, voyant de réserve pas encore atteint.
Conducteur seul, coffre vide:
- Moyenne sur routes du département de l'Eure (long trajet): 4.1L/100km TDB, facteur surconso. = 1.3, soit 5.33L/100km réel.
- Autoroute, 100km/h régulateur: 4.4L/100km TDB, facteur surconso. = 1.3, soit 5.72L/100km réel.
Note: Des consommations inférieures sont atteignables avec une charge inférieure et potentiellement en utilisant une huile RN17 (5W30) plutôt qu'une huile RN17RSA (0W40).
Économiser du caburant
- Entretenir parfaitement le véhicule pour assurer un fonctionnement optimal.
- Choisir des fluides et pneus de qualité et/ou aux normes: ceux-ci ne sont pas nécessairement beaucoup plus chers à l'achat mais sont largement amortis grâce aux économies obtenues sur le long terme.
- Exploiter au maximum le régulateur de vitesse, même en ville: un moteur apprécie particulièrement fonctionner à une vitesse constante. Les accélérations sont très coûteuses. Les excès de vitesse sont limités et les amendes coûteuses aux radars potentiellement évitées.
- Exploiter l'inertie du véhicule au maximum: les freins doivent être utilisés au strict minimum. Toute utilisation des freins hors cas d'urgence signifie que le conducteur a trop accéléré ou relâché le pied trop tard. Les freins sont ainsi économisés et les durées à 0L/100km maximisées pour "rembourser" partiellement les phases d'accélération.
- Exploiter au maximum les rapports de vitesse. Dans le doute, suivre les suggestions de rapport du tableau de bord même si, parfois, l'utilisateur peut surpasser cette suggestion pour économiser encore plus.
Suggestions économiques (terrain plat), H4D + JE3 001:
- 2: <=20km/h
- 3: ~30km/h
- 4: ~40km/h
- 5: >50km/h
Attention: Suggestions applicables uniquement à vitesse fixe. Les rapports optimaux lors des accélérations sont susceptibles d'être différents. Les rapports optimaux seront inévitablement différents avec le moteur H4Bt qui possède des ratios de vitesse différents ainsi qu'une courbe de couple optimale différente.
Se référer en priorité à l'indicateur de consommation instantanée ainsi que l'expérience sur route qui font foi, même à l'E85.
Notes:
L'utilisation du régulateur et la recherche de l'économie du carburant ne doivent pas impacter la SÉCURITÉ du conducteur, des passagers et des autres usagers.La maîtrise du talon-pointe et du rev-matching permet une meilleure réactivité pour les changements de rapports et peut aider à économiser du carburant si utilisée à bon escient. Cette maîtrise peut celà-dit avoir l'effet pervers d'inciter à une conduite sportive qui éliminera tous les gains potentiels et fera même surconsommer.
Les rapports élevés ne seront pas économiques à basse vitesse dans le cas d'un véhicule mal entretenu. Le ressenti peut également paraître vibrant/désagréable.
Il est parfois plus rentable de rétrograder pour accélérer plutôt que de rester sur un rapport élevé. Au contraire, il est parfois plus rentable d'accélérer sur le rapport le plus élevé passé une certaine vitesse.
Dans une pente descendante ou lors des décélérations, il peut être rentable de rétrograder: le rapport inférieur permettra d'être à 0L/100km tandis que le rapport supérieur forcera le calculateur à continuer à injecter du carburant inutilement. Attention à bien juger dans ce cas, rentrer le rapport inférieur peut aussi avoir l'effet pervers d'augmenter le frein moteur. Cela pourrait alors finalement s'avérer non-rentable même si à 0L/100km selon la situation, car il fera ralentir le véhicule, forçant à ré-accélérer par la suite.
Dans les côtes, il est parfois rentable de rétrograder plutôt que de rester sur un rapport élevé. Les suggestions du tableau de bord sont dans ce cas relativement fiables et doivent être suivies, même si le TDB incite à passer en rapport 3 par exemple. Le rapport maximal optimal devra être repassé le plus vite possible après coup pour limiter le temps à "sur-régime": le TDB a tendance à avoir un peu de latence par rapport aux conditions réelles.
Boîtes de vitesses
Boîtes manuelles JE3 00x
- 5 vitesses avant synchronisées avec deux bagues (1, 2) ou une seule (3, 4, 5) + une marche arrière non-synchronisée.
- Deux arbres de transmission.
- Denture hélicoïdale sur les vitesses avant, denture droite pour la marche arrière.
- Différentiel intégré à la boîte.
Il existe sur les Twingo III un certain nombre de boîtes de la famille JE3 avec des ratios différents en fonction de la motorisation (voir courbes vitesse/RPM):
| Moteur | Modèle boîte |
|---|---|
| H4D | JE3 001, [...] |
| H4Bt | JE3 003, [...] |
Au moins 6 variantes, sauf incompréhension, semblent exister, avec des mélanges de nombres de nombres de dents variant sur plusieurs rapports et avec des arbres primaires différents.
Les différentes variantes coïncident avec les caractéristiques différentes des deux moteurs. Il est possible que les ratios aient été choisis précisément pour optimiser les consommations sur les tests NEDC/WLTP. Ainsi, les ratios auraient pu changer lors du passage d'un test à l'autre.
Les ratios suivants proviennent de la RTA Twingo 1.0 SCe 70. Il est cela dit pour le moment difficile de dire pour quel modèle de boîte précis ces ratios s'appliquent, celui-ci n'étant pas précisé:
| Rapport | Ratio |
|---|---|
| Couple réducteur | 0.2679 |
| 1 | 0.2683 |
| 2 | 0.4884 |
| 3 | 0.7179 |
| 4 | 0.9714 |
| 5 | 1.2188 |
| R | 0.2821 |
Boîte semi-automatique DC0
Cette boîte est également nommée EDC (Efficient Dual Clutch). Elle est fabriquée par Getrag.
- Boîte à double embrayage sec électro-mécanique
- 6 vitesses avant + 1 marche arrière
- 3 arbres de transmission et deux sous-transmissions, chacune possèdant son embrayage
- Différentiel intégré à la boîte
Alimentation en carburant
Réservoir et pompe à carburant
Le réservoir de carburant se trouve à l'arrière du véhicule, partiellement sous les sièges arrière. Il est conçu en HDPE extrudé recouvert d'une couche d'EVOH. Sa capacité nominale est de 35 Litres avec le volume d'expansion se trouve à l'intérieur de celui-ci.
Le niveau du réservoir est lu par un capteur de type flotteur-levier intégré au bloc pompe.
Un système sans retour de carburant est utilisé. La pompe de référence 17 20 249 44R envoie le carburant à une pression variable selon la charge (max. 5.2 bar) jusqu'à la rampe d'injection. Le régulateur de pression ainsi qu'un filtre à vie sont intégrés au bloc pompe. Il n'y a aucun autre filtre à carburant.
Les pompes à carburant Bosch sont validées pour fonctionner avec du E20.
ATTENTION: la jauge au tableau de bord ne correspond pas toujours au niveau réel lu par le flotteur. En cas d'usage d'E85, celle-ci est FAUSSE !!! (voir chapitre E85)
Injection
Les moteurs H4D et H4Bt sont tous équipés d'une injection indirecte multipoint. Les 3 injecteurs sont alimentés en carburant sous pression par une rampe d'injection. Ces moteurs possédant 2 valves par cylindre, les injecteurs sont choisis pour offrir un double jet, chacun visant une des 2 valves.
L'admission est conçue pour optimiser le tumble, aidant à obtenir un mélange plus homogène dans les cylindres et un meilleur rendement.
La RTA Twingo III 1.0 SCe mentionne la possibilité de renseigner les caractéristiques d'un injecteur dans le calculateur à l'aide d'un outil de diagnostic.
Des injecteurs parfaits sont cruciaux au fonctionnement optimal du moteur.
Recommendation importante: inspecter et nettoyer, si besoin les injecteurs à chaque vidange, en particulier avec le moteur H4D.
E85: vérifier les injecteurs quelques milliers de kilomètres après le passage à ce carburant.
Un ou plusieurs injecteurs encrassés/défectueux entraîneront:
- Mauvaise atomisation du carburant: homogénéité du mélange air/carburant altérée.
- Débit inconstant d'un injecteur à l'autre: mélange de cylindres riches/pauvres: richesse non optimale.
- Modification néfaste de l'avance d'allumage à cause des mélanges inconsistants.
- Réduction du rendement et de la performance.
- Pollution et consommation amplifiée.
- Contamination de l'huile (dilution de carburant et particules) amplifiée.
- Calaminage amplifié.
- Comportement vibrant, désagréable.
- Temps de réponse à la pédale rallongé.
Notes:
L'E85 a tendance à nettoyer l'ensemble du circuit de carburant. Lors des premiers kilomètres, il serait susceptible de décoller des dépôts précédents qui s'y trouvaient. Il pourraient alors se déposer à l'intérieur des injecteurs et/ou sur les pointes et les encrasser.Cependant, l'E85 ne semble pas encrasser pas les injecteurs, de l'intérieur, sur le moyen long terme: @antoniobiscuit, à 90,170km (soit ~40,000km à 100% d'E85): Extraction des 3 injecteurs de leur rampe, à la recherche d'éventuels dépôts. Intérieur comme neuf (injecteurs comme rampe). Le nettoyant frein n'a permis de sortir aucun dépôt.
En cours de validation: L'apparition d'une petite quantité de crème/mayonnaise au niveau du bouchon de remplissage d'huile pourrait être liée à des injecteurs encrassés.
@antoniobiscuit: "Mes petites traces de mayonnaise habituelles au niveau du bouchon d'huile ont totalement disparu depuis mon nettoyage d'injecteurs. L'huile n'a pas été changée/vidangée avec le nettoyage d'injecteurs. Je souhaite tout de même examiner cela sur un plus long terme pour bien cibler l'origine de ces traces." (H4D, 100% E85, RN17RSA)
Moteur H4D
Le moteur H4D est équipé d'injecteurs fabriqués par Deka / Siemens. La référence des injecteurs est 166009685R ou bien A2810700046 chez Mercedes-Benz.
| Débit N-Heptane/min à 3.0bar | ? |
|---|---|
| Pression max supportée | ? |
| Résistance | 9 à 17 Ω (RTA) |
| Connectique | Nippon Denso |
| Forme du jet | Double (Gauche + Droite) |
| Nombre de trous | 2 * 3 |
Encrassement: Les deux constats de @antoniobiscuit (à ~85,000km et à 90,069km) semblent indiquer une potentielle sensibilité à l'encrassement des injecteurs de H4D. En effet, des dépôts semblent boucher de l'extérieur ses injecteurs à des kilométrages relativement faibles (voir image).
Ses constats semblent indiquer la tendance d'encrassement suivante, allant du pire au moins pire: injecteur 3, 2, 1. Elle coïncide avec l'éloignement de l'injecteur par rapport à l'arrivée du reniflard de vapeurs d'huile.
Théorie la plus probable: Les vapeurs d'huile se déposeraient sur les pointes des injecteurs:
- Le boîtier papillon, le capteur MAP et le thermomètre d'admission subissent déjà les effets des vapeurs d'huile.
- Plus l'injecteur est proche du reniflard de vapeurs d'huiles, plus il est recouvert de dépôts.
- Sur les images, le col des pointes d'injecteurs est recouvert de dépôts qui ne pourraient, par leur position, que provenir de vapeurs d'huile, et pas du circuit de carburant.
- Aucun encrassement interne des injecteurs ni de la rampe d'injection n'ont pu être relevés même à leur premier nettoyage à 90,170km.
Notes:
Relevé des injecteurs de @antoniobiscuit à 85,000km:
- Cylindre n°3: particulièrement touché: un côté était entièrement bouché (3 trous), plus de la moitié de la pointe était recouverte d'une épaisse couche de dépôts.
- Cylindre n°2: idem cylindre n°3 mais plus léger (2 trous bouchés).
- Cylindre n°1: relativement propre.
Un nombre important d'éléments pourrait affecter la vitesse d'encrassement des injecteurs: températures, nature/durée des trajets, style de conduite, type d'huile... Vos retours concernant l'encrassement des injecteurs pour essayer de déterminer des facteurs aggravants sont les bienvenus !
Moteur H4Bt
Le moteur H4Bt est équipé d'injecteurs Bosch EV-14-ST. La série EV14 est compatible avec l'E85 et les applications Flex Fuel.
Référence: 16 60 093 73R
Note: Le moteur H4Bt est d'origine équipé d'un condenseur de vapeurs d'huiles, il devrait, théoriquement, présenter des problématiques d'encrassement des injecteurs moins importantes que le moteur H4D. Vos retours sont les bienvenus !
| Débit N-Heptane/min à 3.0bar | 162,9g (~238.5cc) |
|---|---|
| Pression max supportée | 6.0bar |
| Résistance | 12 Ω |
| Connectique | Nippon Denso |
| Forme du jet | Double (Gauche + Droite) |
| Nombre de trous | 2 * 4 |
Bougies et bobines d'allumage
Type de bobines: crayon
Référence: 22 43 324 28R
Durée de vie: indéterminée. Remplacer les trois bobines en même temps.
Bougies d'allumage:
Remplacer tous les: 60,000km/4 ans (Iridium) ou 20,000km (Cuivre/Nickel).
Moteur H4D: Nickel/Cuivre ou Iridium (voir notes).
Moteur H4Bt: Bougies Iridium obligatoires !
Réferences Nickel:
- Bosch N34 - VR 8 SC+ = 0.9mm
- NGK LZKAR7B
Références Iridium:
- Renault: 22 40 191 33R
- Bosch: VR7SI332S (N64) = 0.7mm
- NGK: ILKAR7J7G
Notes:
ATTENTION: Les échelles d'indices thermiques des bougies sont différentes d'une marque à l'autre et ne sont pas comparables directement !E85: conserver des bougies aux spécifications d'origine. Favoriser éventuellement les bougies Iridium.
Les références de bougies Iridium ci-dessus, autrefois recommandées pour les deux moteurs, ne semblent plus apparaître dans les listes de compatibilité du H4D mais uniquement pour le H4Bt, sur le site de Bosch notamment, mais aussi sur Autodoc.
Les bougies Iridium du H4Bt ont le même facteur de forme que le H4D et peuvent donc y être installées si on ne prend pas en considération les indices thermiques.
Les bougies Iridium sont rentables sur le long terme: l'écart de prix est relativement faible mais elles devront être remplacées 3 fois moins souvent (en km) que les bougies Nickel/Cuivre.
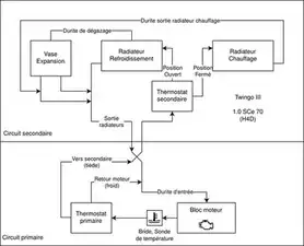
Refroidissement
Circuit de liquide de refroidissement
Des conduites relient le moteur à l'arrière et les radiateurs situés à l'avant du véhicule en faisant toute la route vers le bas.
Deux vis permettent de purger le circuit de refroidissement. L'une se situe dans le compartiment avant et l'autre dans le compartiment moteur.
Refroidissement de l'huile
1.0 SCe 70:
Aucun système de refroidissement ou de régulation de température de l'huile sur le moteur, autre que le bloc moteur en lui-même. Les températures d'huile peuvent dépasser légèrement 100°C sur autoroute.
0.9 TCe 90:
Échangeur huile/eau permettant de stabiliser les températures d'huile mais aussi de la réchauffer plus rapidement après le démarrage grâce à la chaleur du liquide de refroidissement.
Notes: le moteur 1.0 SCe 65 des Twingo III Phase 2 possède un échangeur huile/eau.
Ventilateur compartiment moteur
Contrairement aux Twingo III équipées du moteur 0.9 TCe 90, seules certaines équipées du moteur 1.0 SCe 70 semblent équipées d'un ventilateur dans le compartiment moteur. L'emplacement et la prise existent même sur les véhicules non équipés.
Distribution
Chaîne de distribution
Chaîne commune aux moteurs H4D et H4Bt
| Type de chaîne | Dentée (silencieuse) |
|---|---|
| Type de tendeur | Hydraulique |
| Nombre de maillons | 152 |
Durée de vie:
Renault comme Smart vendent la chaîne de distribution comme étant "à vie". La qualité et la pureté de l'huile impactent fortement la vitesse d'usure de la chaîne de distribution.
Complexité de remplacement:
Dépose complète du bloc moteur nécessaire, ce qui implique la dépose de nombreux autres éléments, comme l'essieu arrière complet. Il est donc recommandé de tout faire pour retarder l'échéance au maximum, voire ne jamais avoir besoin de le faire.
Arbre à cames, soupapes et poussoirs
- Double Arbre à Cames en tête (DOHC) sur les moteurs H4D et H4Bt.
- Rotation de l'arbre à cames ajustable côté admission grâce à une poulie déphaseur actionnée par un solénoïde (voir Distribution Variable).
- Poussoirs de soupapes hydrauliques avec revêtement DLC (Diamond Like Carbon).
Les moteurs H4D et H4Bt sont tous deux à interférence: une casse de la distribution est donc catastrophique.
Valeurs de référence pour les soupapes :
| Admission | Échappement | |
|---|---|---|
| Jeu aux soupapes à froid (mm) | 0.35 < x < 0.45 | 0.46 < x < 0.54 |
| Longeur (mm) | 100.8 | 101.92 |
| Diamètre queue de soupape (mm) | 5.470 < x < 5.485 | 5.455 < x < 5.470 |
Le réglage du jeu aux soupapes se fait avec des poussoirs calibrés. Ceux-ci existent de 2.96mm à 3.56mm d'épaisseur avec une granularité de 0.02mm.
Références des poussoirs de soupape classées du plus petit au plus grand:
| Épaisseur en mm | Référence Renault | Référence Mercedes-Benz | Référence Nissan |
|---|---|---|---|
| 2.96 | 132311018R | A 200 054 00 00 | 1323100Q0A |
| 2.98 | 132311055R | 1323100Q0B | |
| 3.00 | 132310094R | A 200 050 08 00 | 1323100Q0C |
| 3.02 | 132310350R | 13231-00Q0D | |
| 3.04 | 132310355R | 1323100Q0E | |
| 3.06 | 132310401R | 13231-00Q0F | |
| 3.08 | 132310514R | 13231-00Q0G | |
| 3.10 | 132310573R | A 200 054 01 00 | 13231-00Q0H |
| 3.12 | 132310766R | A 200 054 02 00 | 13231-00Q0J |
| 3.14 | 132311028R | A 200 054 03 00 | 13231-00Q0K |
| 3.16 | 132311444R | A 200 054 14 00 | 13231-00Q0L |
| 3.18 | 132311989R | A 200 054 15 00 | 13231-00Q0M |
| 3.20 | 132312591R | A 200 054 16 00 | 13231-00Q1A |
| 3.22 | 132314487R | A 200 054 17 00 | 13231-00Q1B |
| 3.24 | 132314488R | A 200 054 18 00 | 13231-00Q1C |
| 3.26 | 132314563R | A 200 054 19 00 | 13231-00Q1D |
| 3.28 | 132315748R | A 200 054 20 00 | 13231-00Q1E |
| 3.30 | 132315924R | A 200 054 21 00 | 13231-00Q1F |
| 3.32 | 132316245R | A 200 054 22 00 | 13231-00Q1G |
| 3.34 | 132316509R | A 200 054 23 00 | 13231-00Q1H |
| 3.36 | 132316883R | A 200 054 04 00 | 13231-00Q1J |
| 3.38 | 132316919R | A 200 054 05 00 | 13231-00Q1K |
| 3.40 | 132317088R | A 200 054 06 00 | 13231-00Q1L |
| 3.42 | 132317111R | A 200 054 07 00 | 13231-00Q1M |
| 3.44 | 13 23 171 31R | A 200 054 08 00 | 13231-00Q2A |
| 3.46 | 132318483R | A 200 054 09 00 | 13231-00Q2B |
| 3.48 | 132318843R | A 200 054 10 00 | 13231-00Q2C |
| 3.50 | 132319649R | A 200 054 11 00 | 13231-00Q2D |
| 3.52 | 132315387R | A 200 054 24 00 | 13231-00Q2E |
| 3.54 | 132318335R | A 200 054 12 00 | 13231-00Q2F |
| 3.56 | 132318770R | A2000541300 | 1323100Q2G |
Note: Ces références de poussoirs, croisées, sont valables non seulement pour les moteurs H4D et H4Bt équipant la Twingo III, mais aussi, entre autres, pour les moteurs suivants à en croire les listes de compatibilité des sites de vente de pièces détachées:
H4B400, H4B408, H4B405, H4B410, M200.711, HR2ADDT, H4B401, H4B451, H4B453, H4B409, M281.910, M281.920, H5F402, H5F404, H5F408, H5F410.
Si besoin de chercher/acheter sur certains sites de pièces détachées, entrer les informations d'une Smart 453 avec le moteur équivalent: les poussoirs sont affichés, contrairement à la Twingo III.
Distribution variable (Variable Valve Timing / VVT)
La distribution des moteurs SCe 70 et TCe 90 est variable côté admission. Un solénoïde utilise la pression pour contrôler la poulie déphaseur de l'arbre à cames et modifier le moment d'ouverture des soupapes. Le but est d'ouvrir légèrement la soupape d'admission lors de la fin de phase d'échappement pour aider à balayer plus efficacement les gaz d'échappement du cylindre et ainsi, améliorer les temps de réponse en plus d'obtenir du couple additionnel à bas régime.
Le solénoïde s'active à partir de 1,250 RPM et son fonctionnement se vérifie à l'aide d'un oscilloscope.
Le solénoïde possède une fine grille et est sensible à l'état et à la qualité de l'huile moteur. Il peut se boucher, se gripper et provoquer alors des dysfonctionnements en ne faisant pas tourner la poulie déphaseur correctement.
Références du solénoïde: 237964892R et/ou 237962295R. Le numéro 23 79 646 24R apparaît aussi avec les deux précédents sur les sites de vente.
Note:
Angles non valables pour le schéma expliquant le fonctionnement du système VVT
Courroie d'accessoires
| Sans climatisation | Avec climatisation | |
|---|---|---|
| Type de courroie | 7PK | 7PK |
| Longueur (mm) | 1236 à 1240 | 1375 à 1380 |
| Type de tendeur | Mécanique | Mécanique |
| Accessoires entraînés | Alternateur, pompe à eau | + compresseur de climatisation |
| Référence | 11 72 054 53R | 11 72 050 52R |
En cas de rupture de la courroie d'accessoires: arrêt immédiat de la pompe à eau et donc du refroidissement du moteur. Le véhicule doit être immobilisé immédiatement.
Dans le cas où la courroie serait mal installée et n'entraînerait pas les accessoires, notamment l'alternateur, un voyant batterie et un STOP au tableau de bord apparaissent 10 secondes après le démarrage.
Démarreur
Selon les modèles et motorisations, divers types de démarreur sont utilisés. Leur nombre de dents varie entre 9 et 11 avec une puissance nominale différente. Cela explique en partie les légères différences de sonorités et de vitesse de lancement au démarrage selon le véhicule.
Alimentation électrique:
- Sans Gestion d'énergie: Fusible 39 seul.
- Avec Gestion d'énergie: Fusible 39 via le relais 260-4 A.
Freinage
L'état global du système de freinage mais aussi des pneus et leur qualité peuvent faire la différence entre un accident évité de justesse et un accident gravissime.
Ces points doivent en aucun cas être négligés et doivent impérativement être entretenus convenablement pour assurer la sécurité des occupants du véhicule et des autres usagers sur la route.
Faire appel à un professionnel au moindre doute sur l'état et/ou les manipulations concernant le système de freinage.
La SÉCURITÉ prime.
Lancée à 100km/h, la Twingo III, moteur H4D, aurait une distance de freinage d'environ 38m selon les sources, pouvant augmenter considérablement en fonction du terrain et des pneus.
Quelques exigences:
- Course de pédale de frein constante, fluide, sans accoups.
- Freinage précis sur toute la course de la pédale.
- Freinage équilibré: Le véhicule ne doit pas freiner plus fort d'un côté que de l'autre.
- Réactivité irréprochable des freins et l'ABS, en particulier en freinage d'urgence.
- Déblocage rapide des freins, hors aide au démarrage en côte.
- Aucun sifflement, couinement ou autre bruit lors du freinage.
Freins avant
Des freins à disques avec des étriers flottants mono-pistons sont utilisés sur l'avant du véhicule. Des disques pleins sont utilisés avec le moteur H4D et des disques ventilés avec le H4Bt.
La rectification des disques de freins est interdite (RTA).
Valeurs de référence (RTA) pour les modèles à disques pleins (H4D):
| Plaquettes | Épaisseur nominale avec support | 18mm |
|---|---|---|
| Épaisseur minimale avec support | 10mm | |
| Disques | Diamètre | 259mm |
| Épaisseur nominale* | 12mm | |
| Épaisseur minimale | 10.6mm | |
| Voile maximal | 0.035mm |
Valeurs probables pour les modèles à disques ventilés (H4Bt) :
| Plaquettes | Épaisseur nominale avec support* | 18mm |
|---|---|---|
| Épaisseur minimale avec support | ? | |
| Disques | Diamètre* | 258mm |
| Épaisseur nominale* | 22mm | |
| Épaisseur minimale* | 19.8mm | |
| Voile maximal | ? |
Notes : *Valeurs trouvées en consultant les spécifications des pièces neuves.
Freins arrière
Les freins arrière sont des freins à tambours. Il existe deux mesures de diamètres de mâchoires, de cylindres de roues et de tambours selon que le véhicule est équipé ou non de Start & Stop.
Valeurs de référence RTA (H4D avec Start & Stop):
| Tambours | Diamètre nominal | 228.5mm |
|---|---|---|
| Diamètre maximal | 229.5mm | |
| Segment de frein | Épaisseur minimale, support compris | 2.4mm |
Valeurs selon les specs Bosch Aftermarket:
| SANS Stop & Start | AVEC Stop & Start | |
|---|---|---|
| Diamètre | 203 mm | 228,6mm |
| Diamètre extérieur du piston | 20,64 mm | 22mm |
| Largeur | 38 mm | 42,5 mm |
Commande de freinage et système ABS
Les freins sont actionnés par un système hydraulique utilisant le liquide de freins. Le réservoir est commun au circuit d'embrayage. La pression hydraulique est assurée par une pompe électrique. Le système ABS est fourni par Bosch.
Purge/vidange du liquide de freinage
Purger/vidanger tous les: 3 ans maximum.
Selon un certain nombre de facteurs, il peut être nécessaire de purger les freins au bout d'un an ou moins.
Purger immédiatement si la pédale et/ou le freinage ont pris un comportement anormal:
- La pédale de freins a pris du jeu.
- La pédale de freins a un ressenti chewing-gum.
- La pédale de freins n'a pas une course constante.
- Le comportement de la pédale s'est modifié subitement pendant et/ou à la suite d'un freinage. Ex: la pédale de frein est descendue subitement pendant le freinage, le ressenti de pédale s'est légèrement dégradé après (@antoniobiscuit).
- Les freins mettent du temps à se libérer lorsque la pédale est relâchée.
- Freinage inconstant, imprécis.
Ordre de purge: respecter l'ordre indiqué sur l'image, provenant de la RTA. À noter que la purge de l'embrayage pousse du liquide sale dans le réservoir commun. Il est donc préférable de s'occuper en premier de l'embrayage, de vider partiellement le réservoir puis de s'occuper des freins.
IMPORTANT: Utiliser uniquement un liquide de freins neuf, provenant d'un contenant scellé et de préférence avec une date de fabrication récente.
Pneumatiques
Selon les modèles et finitions, la Twingo III peut être équipée de jantes 15 ou 16 pouces. Les dimensions de pneus varient entre l'avant et l'arrière.
Permutation des pneus: possible uniquement sur un même essieu (voir image) et seulement si leur sculpture le permet. Dans ce cas, les permuter tous les 10,000km environ pour uniformiser l'usure des deux côtés.
ATTENTION: Respecter impérativement le sens de rotation des pneus si il y en a un.
La permutation de jantes entières sur un même essieu (sans démontage des pneus) inverse leur sens rotation et peut alors devenir très dangereuse si ils ne sont pas prévus à cet effet !
Pressions préconisées à froid:
| Position | 15 Pouces | 16 Pouces | Pression préconisée |
|---|---|---|---|
| Avant | 165/65 R15 81T | 185/50 R16 81H | 2.0 bar (29 psi) |
| Arrière | 185/60 R15 84T | 205/45 R16 83H | 2.5 bar (36 psi) |
Re-initialiser le système TPMS à chaque modification de la pression des pneus, en particulier avec le système A.
ATTENTION:
Les pressions préconisées sont toujours données à froid (véhicule arrêté depuis plusieurs heures, même si trajet court). Le véhicule doit se trouver à l'ombre pour avoir la même température sur l'ensemble des pneus et éviter un déséquilibrage de pression.Ne jamais dégonfler un pneu chaud, sous risque de tomber en dessous des pressions recommandées. Si besoin de gonfler un pneu chaud, majorer la pression de 0.3 bar par rapport aux préconisations et réajuster la pression à froid au plus vite.
Notes :
Les pneus d'origine et utilisés pour l'homologation sont probablement des Continental EcoContact 5 (modèle récurrent sur les images des brochures).Certains pneus ont besoin d'une majoration de pression inférieure à 0.3 bar à chaud, ex: 0.15 bar. Il peut être intéressant de connaître sa majoration de pression à chaud si besoin. Il est possible aussi possible de comparer avec les autres pneus pour se faire une idée.
Chaînes à neige
À installer uniquement sur l'essieu arrière (propulsion).
Les roues 16" sont non chaînables selon la notice Renault.
Détection de perte de pression des pneus
Il existe deux systèmes de détection de perte de pression (TPMS) selon les modèles.
- Présence de l'étiquette A dans la portière côté conducteur : système A sans capteur, mesure la vitesse des roues pour déceler une perte de pression dans un des pneus.
- Absence de cette étiquette : système B, utilise des capteurs de pression sans-fil dans la valve de chaque pneu.
Le système A peut dysfonctionner à cause de :
- Pressions de gonflage différentes des pressions recommandées
- Système non réinitialisé après un regonflage ou une opération sur les roues (parallélisme par exemple)
- Charge importante ou sur un côté du véhicule uniquement
- Conduite sportive, sur route neigeuse ou glissante
- Utilisation de chaînes à neige
- Usure des pneus inégale ou mélange de pneus neufs et usés
- Certains modèles de pneus
Le système B peut dysfonctionner pour les raisons suivantes :
- Épuisement des piles des capteurs (le plus fréquent)
- Capteur endommagé par un produit anti-crevaison
Reconfiguration après le remplacement des valves électroniques:
Il ne semble pas nécessaire de procéder à une quelconque reconfiguration via OBD après un remplacement des capteurs TPMS. À confirmer par le retour d'expérience d'autres utilisateurs.
Direction, géométrie et parallélisme
Les valeurs sont à vérifier réservoir plein et véhicule à vide.
Train avant
Valeurs de référence pour le train avant (degré/minute) :
| Réglable | Nominale | Tolérance | |
|---|---|---|---|
| Parallélisme (ouverture) | OUI | 0°7' | ± 15' |
| Carrossage | NON | -0°18' | ± 60' |
| Chasse | NON | 7°18' | ± 60' |
| Angle de pivot | NON | 12°48' | ± 36' |
Train arrière
Valeurs de référence pour le train arrière (degré/minute) :
| Réglable | Nominale | Tolérance | |
|---|---|---|---|
| Parallélisme (pincement) | NON | -0°10' | ± 25' |
| Carrossage | NON | -1°12' | ± 30' |
Batterie
La batterie au plomb traditionnelle 12V se trouve dans le compartiment avant du véhicule.
| Tension | 12V |
|---|---|
| Capacité | 60Ah |
| Aptitude au démarrage | 510A |
| Type | EFP (Enhanced Flooded Battery) |
| Taille | L2 |
Fusibles et relais
Il existe plusieurs boîtes à fusibles et relais dans les Twingo III.
L'affectation de certains fusibles varie en fonction de l'équipement: Start & Stop, gestion de l'énergie, type de climatisation.
Voir les vues éclatées pour un détail des fusibles et des affectations.
Platine habitacle (boîte à gants)
Emplacement: Derrière la trappe située dans la boîte à gants.
Platine moteur (côté droit du coffre)
Emplacement: Sous les garnitures du côté droit du coffre, juste en dessous du calculateur.
Platine alimentation de puissance (compartiment avant)
Emplacement: Dans le compartiment avant, juste en face du vase d'expansion de liquide de refroidissement.
Platine batterie
Emplacement: Dans le connecteur + de la batterie.
Platine chauffage additionnel
Emplacement: Sous les garnitures des commandes de chauffage et de climatisation de l'habitacle.
Platine compresseur de climatisation
Emplacement: Sous les garnitures du côté droit du coffre, en bas à gauche de l'enrouleur de ceinture.
Pièces sensibles à la qualité de l'huile moteur
Les pièces référencées ici peuvent dysfonctionner, s'user prématurément, s'encrasser en fonction de la qualité de l'huile.
- Chaîne de distribution et tendeur hydraulique
- Solénoïde VVT
- Poussoirs de soupapes hydrauliques
Pièces sujettes aux vapeurs d'huile
Les pièces référencées ici peuvent s'encrasser et dysfonctionner à cause des vapeurs d'huile en provenance du reniflard. Il faudra les nettoyer périodiquement pour maintenir leur bon fonctionnement.
- Boîtier papillon
- Capteur MAP
- Sonde de température d'admission
- Injecteurs ?
Fluides d'entretien, préconisations et quantités
Les produits présentés ici le sont à titre illustratif. Bien d'autres produits de fabricants différents conviennent parfaitement tant que les normes et spécifications indiquées sont respectées. Les normes constructeur et capacités indiquées proviennent de la RTA Twingo III 1.0 SCe 70. D'autres normes et conseils peuvent également être indiqués et/ou recommandées.
Huile moteur
| Viscosité SAE constructeur | 0W40 |
|---|---|
| 5W40 | |
| 10W40 | |
| Norme constructeur | RN0700 |
| Viscosités SAE remplaçantes | 5W30 |
| 0W40 | |
| Normes remplaçantes | RN17, RN17 RSA |
| Charge sans filtre (H4D) | 3.7 Litres |
| Charge avec filtre (H4D) | 4.3 Litres |
Applicable pour tous moteurs (H4D et H4Bt), E5/E10 comme E85.
Les normes RN0700 et 0710 sont remplacées par RN17 et RN17RSA (Renault Sport Alpine), toutes deux rétro-compatibles. Étant des améliorations techniques, elles sont recommandées en lieu et en place de l'ancienne norme RN0700. Les intervalles de vidange d'origine sont conservés mais toujours à adapter selon le cas d'usage.
- RN17 (SAE 5W30, HTHS normal ≥ 3.5 mPas): conseillée pour tous les usages sur les H4D et H4Bt (0.9 TCe 110 inclus).
- RN17 RSA (SAE 0W40, HTHS élevé ≥ 4.1 mPas): conçue pour les usages sévères/sportifs, moteurs RS et Alpine. Utilisable en usage courant avec une surconsommation de carburant par rapport à la norme RN17 (HTHS plus élevé).
Si utilisation de toute autre norme différente :
- Adapter les intervalles de vidange.
- Respecter les préconisations de grade SAE et choisir des normes constructeur similaires/équivalentes, de préférence en classe ACEA C3, Mid-SAPS (comme RN17/RSA). Ex: MB 229.52.
- Huile synthétique obligatoire.
- HTHS ≥ 3.5 mPas obligatoire, peu importe le grade SAE final choisi: requis par RN0700 en xW40. (voir tableau issu du Afton Chemicals Handbook).
- Normes HTHS réduit (< 3.5 mPas) interdites: risque d'usure accélérée (ACEA C1/C2...).
- Normes Low-SAPS interdites: risque d'usure accélérée (RN0720, ACEA C4/C1...).
Notes:
Une huile ACEA C2 ET C3 est tolérée car HTHS = 3.5 mPas, pile sur la limite des deux normes. Certaines huiles avec la spécification RN17 sont dans ce cas.
Différence de volume entre les deux marques MIN et MAX sur la jauge d'huile: 0.9L à 1.1L suivant le moteur.
Seules les normes et homologations de fabricants peuvent donner une idée fiable de la qualité de l'huile. (hors huiles de compétition)
Le grade SAE est en fait une plage. Seul, il ne donne pas d'informations sur la qualité de l'huile. Une huile 0W30 "lourde" peut réellement avoir une viscosité kinématique à chaud quasi-égale à une huile "5W40" légère. À l'inverse, une 0W30 "légère" peut se rapprocher fortement d'une 0W20 "lourde".
Une huile 0W30 peut tout aussi bien avoir un HTHS à 2.9 comme à 3.5. Lire les fiches techniques est donc important.
@antoniobiscuit : MB 229.52 est selon moi une norme très intéressante à avoir en complément sur son bidon d'huile.
Liquide de refroidissement
| Type | Renault Type D (Jaune) |
|---|---|
| Point de gel | -21°C |
| Point d'ébulition | ~108°C |
| Volume (H4D) | 8 Litres |
| Volume (H4Bt) | 12 Litres |
Bonnes pratiques:
- Éviter de mélanger des liquides de refroidissement de normes différentes.
* Ne pas utiliser d'eau du robinet pure ou distillée pure:
- Présence de minéraux/métaux (ex: calcaire) dans l'eau du robinet pouvant encrasser le circuit et créer des réactions chimiques.
- Absence d'inhibiteurs de corrosion dans les deux cas.
- Une exception est faite pour le nettoyage du circuit. Utiliser même l'eau du robinet dans ce cas aura un impact positif puisqu'on l'utilise avec un additif pour décrasser le circuit. Éviter tout de même de laisser le circuit tourner "trop chaud" pour limiter les risques.
Si utilisation d'un produit autre que recommandé (ex: liquide concentré):
- S'assurer de la présence d'inhibiteurs de corrosion.
- Respecter le dosage recommandé.
- Vérifier/calculer les points de gel et d’ébullition du mélange aux proportions choisies.
Notes:
En cas de gel du liquide de refroidissement, un éclatement du circuit de refroidissement ou même du bloc moteur peut survenir.
Huile de boîte de vitesses
Boîtes manuelles JE3 00x
| Viscosité SAE | 75W80 |
| Huile préconisée | Tranself TRJ / NFJ |
| Huile remplaçante | Tranself NFX |
| Viscosité SAE remplaçante | 75W |
| Norme API | GL4 |
| Charge | ~2.7 Litres |
Boîte semi-automatique DC0
| Viscosité SAE | 75W |
| Huile recommandée | Tranself NFX |
| Norme API | GL4 |
| Charge | 1.7 Litres |
La boîte de vitesses ne possède pas de jauge d'huile: elle se remplit jusqu'à débordement.
L'huile Tranself NFX, de viscosité 75W, remplace la Tranself NFJ de viscosité 75W80 et est désormais l'huile préconisée sur toutes les boîtes.
Notes:
Sur les boîtes JE3 00x, certaines huiles trop épaisses peuvent donner un ressenti de boîte dur et désagréable en particulier à froid.
Liquide de freins / embrayage
| Norme | DOT 4 |
| Charge | Entre MIN et MAX |
Liquide MB 331.0 (DOT 4+, ISO classe 6) exigé par Smart. DOT 4 préconisé par Renault.
Les normes DOT 4+ et DOT 5.1 sont rétro-compatibles avec la norme DOT 4 et sont donc recommandées, étant des évolutions techniques de cette dernière.
Le point d'ébulition à sec et avec l'âge ainsi que la viscosité à froid sont les points principaux améliorés sur les normes supérieures.
Norme DOT 5 interdite et incompatible à cause de sa composition au silicone.
Éthanol / E85
Légalité et disclaimer
Les auteurs de ce wiki ne peuvent être tenus pour responsables en cas d'incidents, dommages ou problèmes liés à l'utilisation d'E85, peu importe la proportion.
Celle-ci est illégale dans les cas suivants. Le constructeur et l'assureur peuvent par ailleurs renoncer à l'ensemble des garanties, même si il n'y a aucun lien de cause avec l'incident :
- Carte grise non mise à jour (indication case P3 différente de FE)
- Avec un boîtier de conversion non homologué
- Avec un boîtier quelconque non installé par un professionnel agréé
- Avec une reprogrammation, même si celle-ci n'apporte pas de puissance
Compatibilité / affinité à l'E85 avec et sans boîtier
Moteurs H4D et H4Bt éligibles à une conversion E85 légale, avec boîtier. Fonctionnement correct à 100% d'E85 avec un boîtier de conversion, mais meilleur agrément de conduite constaté après avoir débranché un boîtier Flex Fuel Company.
Un certain nombre de pièces critiques sont conçues d'origine pour fonctionner avec l'E85. C'est notamment le cas des injecteurs du H4Bt mais aussi de la sonde lambda amont sur les deux moteurs.
Moteur H4D: 100% d'E85 supporté sans désagréments (été comme hiver), d'origine, mais avec un entretien adapté. Corrections STFT/LTFT du calculateur suffisamment flexibles et permettant de fonctionner à un rapport stœchiométrique en toutes circonstances.
Moteur H4Bt: connu comme supportant bien l'E85 sur d'autres véhicules. Vos retours d'expérience sont les bienvenus !
IMPORTANT: L'ensemble des retours d'expérience du wiki sont basés sur un H4D sans boîtier et à 100% d'E85, sauf mention contraire.
Points importants avant de passer à l'éthanol
Les tables d'injection du calculateur sont conçues pour du E5/E10. En utilisant de l'E85 sans boîtier, des corrections importantes (LTFT/STFT) sont nécessaires et sont appliquées grâce aux informations fournies par les diverses sondes. Elles doivent être les plus fiables et précises possibles.
IMPORTANT: Avoir une interface OBD quelconque à disposition, permettant la lecture des divers PIDs, la consultation des codes d'erreur et leur effacement.
@antoniobiscuit:
"Nan sérieux. Vraiment. Je répète:
Je passe à l'éthanol SANS BOITIER, U-N-I-Q-U-E-M-E-N-T si j'ai une interface OBD à ma disposition !!!!
Je ne plaisante pas, c'est vraiment important. Il y a des codes d'erreurs et des valeurs à regarder/vérifier quand on a pas de boîtier. Sans ça, on peut avoir constamment un voyant moteur allumé et qui empêche son allumage en cas de problèmes moteurs hyper graves, parce que monopolisé par le simple fait qu'on aie de l'E85 dans le réservoir.
Par ailleurs, un voyant moteur c'est refus immédiat au contrôle technique avec contre-visite obligatoire. Donc petite astuce, passez le contrôle technique seulement après que vous ayez effacé votre voyant si vous venez de faire le plein d'E85. On ne sait jamais, si vous ne vous y attendez pas, ça peut vraiment apparaître de manière random au pire moment pendant, je sais pas, au pif, votre contrôle de pollution. Allez voir le chapitre "voyants moteur" pour mieux comprendre.
Je ne suis pas certain de comment les codes sont considérés/interprétés au contrôle technique: il y a des codes "en attente" et des codes "confirmés". Seuls les codes confirmés font allumer le voyant moteur.
Confiez votre Twingo aux autres moteur chaud. Vous savez la démarrer à froid et comprenez ses caprices, l'autre personne non: elle va galérer et considérer que votre Twingo est mal en point. Elle a aussi des chances de caller parce que, comme beaucoup de monde, elle ne va pas attendre et va vouloir partir à la seconde où le moteur s'est lancé, alors que les sondes lambda sont encore froides.
Évitez de laisser votre interface branchée sur la prise OBD quand vous la confiez au contrôle technique: ils vont brancher leur interface à eux et il vaut peut-être mieux éviter qu'ils se posent trop de questions. On m'a déjà fait des remarques étranges à un garage quand j'ai fait changer mes pneus parce que j'avais laissé mon interface OBD branchée: je monitore et log toutes mes données avec un programme home-made depuis quelque temps. Les techniciens ne comprenaient pas et allaient jusqu'à dire que "ce n'est pas fait pour", que j'allais "tout flinguer" mais sans me donner d'argumentation, de justification ou de raisonnement intéressant pour appuyer leurs propos.
Avoir une énergie non-concordante avec ce qui est écrit sur la carte grise est un motif de refus.
Techniquement, on pourrait être cramé par les taux de particules et de NOx plus faibles à l'E85, mais le contrôle technique ne semble pas attendre une quantité précise: il donne plutôt un maximum à ne pas dépasser selon la norme EURO et le véhicule. On passe en principe ce contrôle dès lors qu'on est en dessous.
Par contre en vrai de vrai, si je passais une Twingo III au contrôle technique, je pourrais cramer direct quel pourcentage d'E85 vous avez dans le réservoir parce que je connais l'échelle de valeurs. Mais c'est improbable que les personnes au contrôle technique aillent trifouiller si loin selon moi. Je pense sincèrement que vous avez plus de chances de vous faire recaler pour un silent-bloc usé que pour ça. Ce qui pour moi me paraît logique: ça impacte réellement la sécurité des autres usagers sur la route."
Entretien recommandé avant le passage à l'E85 :
- Nettoyage du boîtier papillon, capteur de pression, thermomètre d'admission et injecteurs.
- Remplacement des bougies d'allumage et du filtre à air (si proches de leur fin de durée de vie).
- Vidange huile moteur.
Les éléments de l'admission devront être contrôlés/entretenus périodiquement pour maintenir un fonctionnement optimal.
Surveiller l'état des pointes d'injecteurs à l'E85.
Additivation de l'E85
Les additifs nettoyants/décrassants sont totalement inutiles avec de l'E85, celui-ci étant de base un nettoyant très puissant (alcool à 65-85%) et potentiellement meilleur. Il peut même être utilisé comme "additif nettoyant" sur un véhicule roulant habituellement au E5/E10.
Les additifs stabilisants sont inutiles sur un véhicule qui roule même modérément.
Le restant des additifs reste non recommandé, dans la même mesure que les recommandations d'origine de Renault et Smart.
Huile moteur et E85
Normes et viscosités
Les normes et viscosités d'huile à utiliser avec de l'E85 sont les mêmes que celles à utiliser normalement au E5/E10. (voir chapitre concerné)
Propreté de l'huile (particules)
La combustion de l'E85 génère moins de particules et de suies, susceptibles de se retrouver dans l'huile, que le E5/E10:
- L'huile "noircit" moins à l'E85: la teinte est plus proche de sa teinte neuve lors de la vidange, à conditions identiques, que l'E5/E10.
- Usure des pièces potentiellement réduite grâce au taux de particules réduit: elles ont un effet abrasif et se logent dans les interstices, comme ceux de la chaîne de distribution.
Image issue du thread suivant: https://www.hellcat.org/threads/e85-vs-9...
Réactions huile/E85, dilution de carburant
L'éthanol et donc, l'E85, serait plus agressif que le E5/E10 avec l'huile.
La dilution de carburant est néfaste dans tous les cas E5/E10, E85, Gazole... Elle cause notamment:
- Réactions chimiques réduisant le pouvoir lubrifiant.
- Abaissement indésiré de la viscosité.
Elle se produit majoritairement à froid et/ou lorsque le moteur tourne riche. Elle est pourrait être légèrement plus élevée avec de l'E85, l'injection de carburant étant supérieure.
100% de l'éthanol pur s'évapore à 79°C alors que seulement ~50% de l'essence sans-plomb peut s'évaporer à 96°C !
Volume non-évaporable théorique à 96°C (soit 50% du vol. d'essence sans-plomb du carburant)
| Carburant | E5 | E10 | E65 | E85 |
|---|---|---|---|---|
| Volume non évaporable à 96°C | 47.5% | 45% | 17.5% | 7.5% |
En admettant une température d'huile à 96°C, le volume non-évaporable de carburant de l'E85 est largement inférieur au E5/E10.
On peut alors théoriser sur le fait qu'une huile d'E85 usagée en conditions optimales (trajets longs permettant d'atteindre 80°C sur l'huile) sera plus "pure", avec une proportion de carburant dilué moindre qu'au E5/E10.
Note: l'huile n'atteint généralement pas 96°C. Le volume non-évaporable dans la réalité est donc probablement plus élevé mais la conclusion reste la même.
Intervalles de vidange
Certaines sources argumentent avec les raisons évoqués précédemment (réactions avec l'huile et dilution de carburant) et recommandent de réduire les intervalles de vidange.
L'intervalle de vidange final dépendra de l'interprétation de chacun. Si dans le doute total, vidanger à 15,000km (au lieu de 20,000km): cela permettra dans le pire des cas de compenser pour un cas d'usage sévère qui n'aurait pas été pris en compte autrement.
Démarrage à froid
L'E85 peut rendre le démarrage à froid plus difficile à cause de ses propriétés différentes du E5/E10 (point éclair notamment).
Il semble y avoir un lien entre les difficultés de démarrage et le fait d'atteindre le maximum de LTFT permis par le calculateur. La stratégie de départ à froid se baserait uniquement sur la valeur LTFT, ce qui semblerait logique.
Si LTFT max atteint: le moteur peut s'étouffer les premières secondes, probablement tant que les sondes lambda ne sont pas prêtes et ne permettent pas à la correction STFT de revenir.
Facteurs rendant le démarrage plus difficile (non-exhaustif) :
- Température très basse (à partir de 5°C), humidité.
- Composition du carburant (E65 à E85 selon les pompes/saisons), fonctionnement à chaud avec une STFT élevée + LTFT max (E85 d'été).
- Encrassement même léger du boîtier papillon, capteur MAP et/ou thermomètre d'admission.
- Injecteurs encrassés ou défectueux.
- Bougies d'allumage usées, potentiellement le type de bougies (Iridium recommandé).
Moteur H4D sans boîtier/modification:
- En hiver: pas de difficulté particulière avec 100% d'E85. Presque aussi facile qu'à l'E5/E10 !
- Inter-saison: potentielles difficultés de démarrage à cause des changements brusques de concentration en E85.
- Été: démarrage généralement du deuxième coup avec 100% d'E85.
Des difficultés de démarrage abusives, comme sur la vidéo suivante, indiquent qu'un petit entretien est nécessaire et/ou que le carburant a une proportion très élevée d'éthanol.
Démarrage à froid sans boitier après une semaine sans utilisation, 100% E85, -2°C, bougies en fin de vie (pire scénario)
Notes:
Il est inutile d'ajouter du E5/E10 en hiver, l'E85 vendu lors de cette saison étant en fait du E65 et ne faisant pas atteindre la LTFT maximale.
Enrichir avec du E5/E10 pour démarrer plus facilement est uniquement un palliatif à certains des problèmes mentionnés plus haut et est donc une perte d'argent. Un entretien est nécessaire et ce problème réduit probablement le rendement du moteur le reste du temps.
Codes d'erreur OBD récurrents / voyant moteur
En été, si véhicule bien entretenu et sans boîtier, un voyant moteur et le symbole clé peuvent faire un petit coucou, très souvent quelques kilomètres après avoir fait son plein. Il s'agit généralement du code P0170 (Fuel Trim Malfunction).
Bonnes pratiques:
- Vérifier immédiatement le code d'erreur dès qu'un voyant apparaît.
- Si il s'agit du code P0170 et que le véhicule est bien entretenu ET sur l'injection ET sur le capteur MAP, l'effacer immédiatement.
Un voyant moteur allumé inutilement par P0170 est un voyant moteur qui ne peut plus informer l'utilisateur d'autres problèmes qui eux sont réellement graves, puisqu'il est déjà allumé !!!
Autrement, le code et voyant peuvent apparaître, entre autres, pour les raisons suivantes:
- En été, pompe délivrant un E85 à haute teneur d'éthanol: LTFT maximale atteint et STFT considéré comme trop élevé par le calculateur.
- Composant de l'admission encrassé/obstrué (filtre à air, boitier papillon, capteur MAP, thermomètre d'admission)
@antoniobiscuit : "Ma théorie est qu'un des paramètres de correction (STFT ou LTFT) se réinitialise partiellement à chaque plein et/ou que le calculateur lance une fonction de détection de carburant quelques kilomètres après, ce qui semblerait logique pour pouvoir adapter entre E0, E5 et E10, mais aussi pour compenser le volume d'ancien carburant encore contenu dans les durites. En effet, je me suis rendu compte que le code arrivait, systématiquement (à quelques centaines de mètres près), avant la traversée d'un pont qui se situe non loin d'une station où je fais souvent le plein. J'ai pu confirmer cette tendance sur d'autres stations qui déclenchent le voyant globalement au même endroit (toujours à quelques centaines de mètres près) sur leurs chemins respectifs. La détection d'abus de LTFT/STFT se ferait donc particulièrement à ce moment et le calculateur ne nous embêterait plus le reste du plein si on efface le code (uniquement si le reste des composants permettant la correction fonctionnent bien), puisqu'il a déjà fait ce check et qu'on lui a déjà gentillement dit que l'on s'en fichait."
Notes:
Il est possible qu'aucun voyant ou code n’apparaisse du tout, même en été avec les teneurs d'éthanol maximales.Le code et le voyant peuvent parfois disparaître d'eux-même si une autre pompe délivre du E85 contenant moins d'éthanol ou même parfois lors du même plein lorsque l'on se trouve pile sur la limite.
Dysfonctionnement de la jauge de carburant et des estimations au tableau de bord
Les valeurs suivantes sont fausses en cas d'usage d'E85:
- Consommation instantanée
- Consommation moyenne
- Estimation du nombre de litres consommés
- Jauge de carburant
- Estimation de l'autonomie en km
Avec un boîtier:
25 à 30% de carburant supplémentaires sont injectés de force sans que le calculateur n'en aie connaissance. Ils n'apparaissent alors pas dans les estimations de consommation.
Sans boîtier:
Les corrections LTFT/STFT semblent totalement ignorées dans les estimations de consommation. Ce carburant additionnel (25 à 30%) est pourtant injecté de pleine conscience par le calculateur.
Problème dans les deux cas:
La jauge de carburant (dans le sens de la descente) est basée sur le calcul de la consommation. L'estimation de consommation à l'E85 étant fausse, le niveau de carburant affiché devient faux. Le flotteur fiable du réservoir n'est utilisé que pour faire remonter la jauge lorsque l'on fait le plein. Il y a donc en réalité, à tout moment, moins de carburant dans le réservoir que ce qui est affiché sur la jauge.
L'alerte de réservoir vide est fiable et est prioritaire sur la jauge: elle peut s'afficher alors qu'il restait un quart sur la jauge fausse. Dans ce cas, elle réinitialise immédiatement la jauge à zéro, qui se met à clignoter comme attendu.
Estimer les valeurs réelles:
À l'aide calculs simples, il est possible d'estimer les valeurs réelles si on connaît sa surconsommation.
- Le facteur de surconsommation dépend de la composition réelle du carburant, donc des pompes et de la saison.
- Si le facteur de surconsommation est inconnu, commencer avec 30% (x1.30) comme sur les exemples suivants. Ajuster si celui-ci est trop éloigné de la réalité.
Exemple 1: Estimer combien de carburant il reste
40 litres de carburant ont été chargés à la pompe. Le tableau de bord indique que 15.0 litres ont été consommés.
- Multiplier l'estimation de consommation par 1.3: 15.0 * 1.3 = 19.5
- Soustraire la nouvelle estimation de consommation aux 40 litres chargés: 40.0 - 19.5 = 20.5
Consommation réelle: 19.5 litres. Il reste environ 20.5 litres sur les 40 litres chargés à la pompe.
Exemple 2: Obtenir la consommation (L/100km) réelle
Le tableau de bord indique une consommation moyenne de 4.8L/100km.
- Multiplier l'indication de consommation par 1.3: 4.8 * 1.3 = 6.24L/100km
Exemple 3: Estimation de l'autonomie à partir des deux valeurs précédentes:
( 20.5 / 6.4 ) * 100 = 328.5 km
L'ordinateur de bord aurait donné au même moment une autonomie autour des 520 km.
Fonctionnement d'un boîtier de conversion
Un boîtier de conversion s’intercale entre le calculateur et les injecteurs. Il récupère le signal original et le rallonge pour forcer les injecteurs à rester ouverts plus longtemps, de sorte à injecter environ 25 à 30% de carburant supplémentaires et ainsi respecter le rapport stœchiométrique. Le boîtier fait le gros du travail tandis que le calculateur s'occupe des corrections et ajustements mineurs.
Problèmes potentiels:
- Le boîtier fait son travail dans le dos du calculateur: ce dernier pense qu'il injecte toujours du E5/E10.
- Le boîtier n'a ni conscience des indications de la sonde lambda ni du pourcentage d'éthanol contenu dans le carburant selon les marques.
- Possibilité que le signal modifié ne soie pas optimal.
- Possibilité de comportements inattendus de la part du calculateur et/ou du boîtier.
Notes:
Il n'est pas impossible que le rendement soie légèrement supérieur (consommation inférieure) sans boîtier de conversion ou bien avec une reprogrammation bien faite, le calculateur étant conscient et maître de tout, comparé au même moteur avec un boîtier de conversion.
Problèmes rencontrés sur le boîtier Flex Fuel Company
Lors d'une conduite normale, la pédale d’accélérateur est souvent relâchée lorsque l'on ralentit ou essaie de rester en roue libre par exemple. Le calculateur coupe alors complètement l'injection pour économiser du carburant. Il y a durant ce temps une absence temporaire de signal d'injection, ce qui est tout à fait normal et souhaité.
Problème: lorsque le signal d'injection revient, le boîtier Flex Fuel Company réagit étrangement et a tendance à engendrer un accoup désagréable. Ce problème ne se produit qu'avec le boîtier. Il ne s'agit pas d'un problème du calculateur. Le même problème revient aussi lors du passage de rapports, l'injection se coupant le temps que le régime baisse.
Théorie plausible:
On admet ici que 100% correspond à ce qui est nécessaire au E5/E10 et 130% à l'éthanol. En conditions normales, le calculateur demande 100% et le boîtier ajoute 30% pour arriver à 130%.
- La pédale d'accélérateur est relâchée. Le signal d'injection s'arrête.
- La pédale d'accélérateur est de nouveau enfoncée. Le calculateur relance l'injection normalement et avec un signal à 100%. Le boîtier est censé augmenter de 30% comme il a fait auparavant pour que tout soie parfait et ainsi arriver à 130%.
- Problème: au retour du signal d'injection, le boîtier pense à tort que le moteur démarre à froid. Il balance alors volontairement la sauce en croyant aider le moteur. On dira dans cet exemple que le boîtier force 60% d'injection supplémentaire au lieu de 30%.
- Le calculateur ayant demandé la dose normale se rend compte grâce à sa sonde lambda que le moteur tourne beaucoup trop riche: il a reçu 160%.
- Le calculateur baisse alors son signal d'injection à 81% pour compenser. Avec le boîtier qui augmente de 60%, on arrive à 130%.
- Le boîtier finit par comprendre que le moteur tourne correctement. Il arrête donc d'enrichir inutilement de 60% et revient à la normale de 30%.
- Maintenant que l'injection supplémentaire du boîtier est passée de 60% à 30%, le calculateur se rend compte qu'il tourne 23% trop pauvre: le moteur reçoit 105% au lieu de 130%.
- Le calculateur réajuste de nouveau son signal d'injection à 100% pour revenir enfin à la normale avec le boîtier qui augmente de 30%, ce qui redonne le total de 130%.
Le calculateur essaie donc de faire correctement son travail mais finit par avoir besoin de se battre avec le boîtier pendant plusieurs cycles pour compenser des erreurs.
Cause probable: la sonde de température est interne au boîtier. Celui-ci est installé en dehors du compartiment moteur sur les Twingo 3 et ne prend pas la chaleur du moteur. Il pense peut être en permanence être à froid.
Notes:
Les techniques de pilotage telles que le talon-pointe, rev-matching et double débrayage souffrent de ce désagrément puisqu'elles nécessitent une relance rapide mais précise du régime. Même si la relance était bien dosée, on reste susceptible de subir un accoup au retour de l'injection lorsque l'on ré-accélérera délicatement et plaquera l'embrayage.
OBD, capteurs et codes d'erreur
L'adaptateur OBD/application doit se connecter avec le protocole ISO 15765-4 CAN, 11 bit ID, 500 kbaud.
Les applications Piston et Infocar, disponibles sur le Play Store fournissent des résultats et informations intéressantes tout en permettant de lire et effacer les codes d'erreurs malgré leurs fonctionnalités payantes. L'application Open-Source AndrOBD ne semble pas apprécier certains adaptateurs Bluetooth ELM327.
L'application Dashboard Racing, disponible sur le Play Store, permet de se faire un petit compte-tour de fortune, donnant en bonus la température de liquide, d'huile, d'air dans l'admission, tension de batterie, niveau de carburant et position du papillon. L'AFR affiché sur l'application est faux surtout en cas d'usage d'E85. Il s'agit d'une conversion du lambda commandé par l'ECU, pas celui lu par les sondes, et se base sur l'AFR du Sans-Plomb pur (0% d'éthanol en volume).
Certains capteurs sont lisibles uniquement à l'aide de PID propriétaires.
Codes d'erreur
Un certain nombre de codes d'erreur semblent lisibles uniquement avec certaines applications ou bien avec des commandes propriétaires.
C'est par exemple le cas pour le capteur MAP qui a un code "performance, values out of range" qui n'est pas lisible avec la majorité des applications. Celui-ci coïncide avec les premiers symptômes d'encrassement du capteur MAP, à savoir, des vibrations/accoups au passage de rapports (en particulier de la 1ère à la 2nde).
PID standard exploitables (non exhaustif)
- Tension batterie (en V)
- Température liquide de refroidissement
- Température huile moteur
- Température air admission
- RPM
- Vitesse du véhicule
- Avance d'allumage (en ° par rapport au PMH/TDC)
- Position du papillon (en %)
- Position pédale accélérateur (en %)
- Short Term Fuel Trim (en %)
- Long Term Fuel Trim (en %)
- Lambda (ratio air/carburant) mesuré par les sondes lambda
- Lambda (ratio air/carburant) commandé par le calculateur
- Statut du système d'alimentation en carburant (Open Loop / Closed Loop)
- Charge du moteur calculée (en %)
- Temps depuis le démarrage
- Niveau de carburant (en %)
- Distance parcourue depuis le dernier effacement des codes
Notes:
Les indications STFT/LTFT sont codées sur des échelles étranges et ne correspondent pas du tout à la réalité. Exemple avec 100% d'E85: on s'attend à environ 30% de LTFT, or, on retrouve une valeur proche de 100%.L'indication du niveau de carburant correspond à celle du tableau de bord: elle n'est donc pas fiable en cas d'usage d'E85.
Attention: le lambda de la sonde Bosch LSU ADV est déterminé sur la puissance (ampérage) et non pas la tension (voltage). Voir specsheet.
PID standard inexploitables (non exhaustif)
- Pression absolue du collecteur d'admission (MAP)
- Pression du carburant
- Consommation
- Débit d'injection
- Avance d'injection
Notes:
Un certain nombre de PID standards sont non-fonctionnels. Il existe en revanche un certain nombre de PID non standard permettant d'exploiter le maximum de la prise OBD pour monitorer.L'indication MAP indique systématiquement 10 kPa en utilisant le PID standard OBD. Un PID non standard permet d'avoir la vraie valeur de ce capteur.
Il n'existe pas de PID standard pour la pression d'huile. Peut-être qu'un PID non standard, propriétaire permet d'obtenir cette information. Il serait autrement possible de se relier en direct sur les bornes + et - du capteur de pression pour lire la tension et en calculer une valeur utile.
PID propriétaires intéressants et fonctionnels (non exhaustif)
- Nombre de ratés d'allumage pour chaque cylindre
- Nombre de cliquetis pour chaque cylindre
- Pression du circuit de climatisation
- État du compresseur de climatisation (ON ou OFF)
- Couple en Nm calculé
- Pression de l'admission en bar (MAP)
Notes:
PID sur le protocole CAN
Valeurs de référence
Vitesse du ralenti en RPM
- À chaud, au point mort: 800RPM
- À chaud, vitesse engagée: 850RPM
- À chaud, au point mort, clim enclenchée: 850RPM
Un ralenti élevé ou instable à chaud peut être causé par:
- Filtre à air sale ou admission obstruée d'une certaine manière.
- Boîtier papillon encrassé.
- Capteur MAP et/ou thermomètre d'admission encrassé.
- Bougies d'allumage usées
Notes:
Sur base d'observations en conditions réelles et confirmé par le PID propriétaire "engine speed target".
Dans certaines conditions, le moteur peut atteindre temporairement une vitesse jusqu'à 1,000RPM au ralenti et au point mort.Capteur MAP totalement défaillant: ralenti constant autour de 1150RPM et voyant ESP allumé.
Pression MAP au ralenti
Pression MAP à chaud, ralenti à 800RPM: ~0.34 bar ± 0.01 bar
Notes:
Capteur MAP et boîter papillon nettoyés juste avant la prise de mesure. Valeur obtenue avec un PID propriétaire.La valeur peut être affectée par la température ambiante mais aussi le type d'huile (pertes de friction différentes donc effort au ralenti différent).
Pressions d'huile
Pressions attendues en lieu et en place du capteur de pression d'huile:
| Température de contrôle | 80°C | |
|---|---|---|
| Pression (bar) | Ralenti < x < 4,000 RPM | 1.7 < x < 2.5 |
| 4,000 RPM < x < Rupteur | 3.5 < x < 4.5 |
Source: RTA, valable pour le moteur H4D, probablement similaire pour le H4Bt.
Températures et temps de chauffe
Les temps de chauffe suivants sont valables pour le moteur 1.0 SCe utilisé avec 100% E85, et une température initiale de 17 à 20°C. Les valeurs sont susceptibles d'être très différentes sur le moteur 0.9 TCe 90, celui-ci possédant un échangeur de température huile/eau mais aussi un volume de liquide de refroidissement bien plus grand (12L sur le TCe 90 contre 8L pour le moteur SCe 70).
Température du liquide de refroidissement
10 à 15 minutes pour à arriver à une température stable de 80°C, selon le style de conduite.
Moteur chaud, le liquide doit se trouver à une température d'environ 80°C (78-85°C) en toutes conditions, même poussé à l'extrême et au rupteur pendant des périodes prolongées (rallye, course...).
Une température >85°C peut déjà être considérée comme anormale et peut être signe d'un encrassement du circuit et/ou d'un mauvais fonctionnement du thermostat.
Notes:
Éviter d'allumer le chauffage à froid et/ou tant que le moteur n'a pas atteint sa température optimale. Le temps de chauffe pourrait être augmenté.
Températures de l'huile moteur
Moteur 1.0 SCe 70
20 à 30 minutes pour atteindre 80°C selon le style de conduite.
En usage urbain, celle-ci oscille entre 70 et 80°C. Sur autoroute, elle peut dépasser les 100°C. Les captures correspondent respectivement à la température stable atteinte à 110 et 130 régulateur.
Selon les sources, la température d'huile "optimale" varie énormément. Certaines donnent une température optimale pour la performance tandis que d'autres donnent une température optimale pour la fiabilité sur le long-terme ou bien le maximum supporté par l'huile en elle-même sans qu'elle ne dégrade. Il est toutefois clair qu'elle doit atteindre une température minimale afin de permettre l'évaporation du carburant dilué.
Températures après un trajet court
À l'issue d'un trajet urbain de 15 minutes, le liquide de refroidissement atteint sa température optimale mais la température d'huile atteint seulement les 54°C. Si le véhicule est utilisé fréquemment dans ces conditions, il s'agit d'un cas d'usage sévère à cause de la dilution de carburant et l’impossibilité pour celui-ci de s'évaporer suffisamment. Il faut donc raccourcir les intervalles de vidange.
Améliorations / mods (idées)
Condenseur de vapeurs d'huile (oil catch can)
L'ensemble des pièces de l'admission (moteur H4D) sont sujettes à des dépôts de vapeurs d'huile, venant altérer leur fonctionnement et amenant un certain nombre de problématiques. Une solution très simple pour réduire ce problème consiste à installer une catch-can.
Celle-ci a un rôle très simple: condenser, et collecter au maximum les vapeurs d'huile. L'air ressortant de la catch can est ainsi partiellement filtré d'une partie des vapeurs d'huile, réduisant les problématiques évoquées.
Intérêts du condenseur de vapeurs d'huile:
- La majorité des vapeurs d'huile se déposent/condensent dans la catch can plutôt que sur les pièces sensibles de l'admission: elles restent propres plus longtemps.
- Pression excessive du carter évacuée comme le système d'origine.
- Pas de rejets directs de vapeurs d'huile dans la nature comme d'origine.
- Passe très probablement le contrôle technique.
Problématiques:
L'emplacement et l'installation de la catch-can doivent être pensés pour répondre à ces quatre points:
- Éviter de créer une pieuvre de durites dans le compartiment moteur.
- Être accessible pour pouvoir la vidanger facilement.
- Être arrimée correctement.
- Redistribuer les vapeurs filtrées devant et derrière le papillon, comme le système d'origine.
Note: Il semble judicieux, dans le doute, de respecter le système original comme dit au point numéro 3. Celui-ci a peut-être été pensé pour réduire le différentiel de pression des deux côtés du papillon sous certaines conditions de charge. Il pourrait aussi contribuer à la régulation du ralenti.
Échangeur de chaleur huile/eau (1.0 SCe 70)
Intérêts de l'échangeur huile/eau:
- Montée en température de l'huile plus rapide après le démarrage en transférant la chaleur du liquide de refroidissement dans l'huile au lieu de la dissiper directement dans les radiateurs. Température et viscosité d'huile optimale atteintes plus rapidement:
- Lubrification optimale plus rapidement atteinte.
- Léger gain en consommation de carburant (moins de temps passé avec une viscosité "trop épaisse").
- Évaporation des contaminants dans l'huile plus efficace sur les trajets courts.
- Stabilisation des températures d'huile autour de celle du liquide de refroidissement:
- Potentielle amélioration de la fiabilité du moteur.
- Limitation de l'évaporation de l'huile à cause de températures trop élevées.
Inconvénients:
- Ajout d'un point de défaillance potentiel: mélange huile/eau possible en cas de casse de l'échangeur.
Notes: l'intérêt majeur est de chauffer l'huile plus rapidement. Les températures d'huile sur ce moteur ne sont pas excessives mêmes en situations extrêmes.
Problématiques à l'installation:
- Manque de place sur les côtés |! SANS Stop & Start |! AVEC Stop & Start |-- |! Diamètre | 203 mm | 228,6mm |-- |! Diamètre extérieur du piston | 20,64 mm | 22mm |-- |! Largeur | 38 mm | 42,5 mm du filtre. Les échangeurs étant plus larges que le filtre d'origine, il est nécessaire de le relocaliser à l'aide d'un kit.
- Nécessité de modifier légèrement le circuit de refroidissement pour ajouter deux petites durites qui alimentent l'échangeur.
Circuit de refroidissement segmenté (1.0 SCe 70)
Objectif: réduire considérablement le temps de chauffe en limitant temporairement le volume du circuit de refroidissement.
Conversion pompe à eau mécanique vers électrique
La pompe à eau mécanique est actionnée par la courroie d'accessoires. Sa vitesse est alors calée sur celle du moteur. Plus la pompe tourne vite, plus elle volera de l'énergie au moteur.
À chaque doublement de la vitesse d'une pompe mécanique, on utilise 8x plus d'énergie. Sur cette logique, et si au ralenti si on utilise une unité d'énergie, on en utilise 8 à 1600RPM et 64 à 3200RPM.
La conception de la pale de la pompe mécanique n'est pas particulièrement optimale, inefficiente d'origine comparée à une pompe électrique de remplacement.
Intérêts
- Consommation de carburant réduite, en particulier à haut régime (autoroute par exemple)
- Actionnement de la pompe possible même moteur à l'arrêt:
- Refroidissement possible après l'arrêt
- Chauffage fonctionnel pour une durée plus longue en Start & Stop
- Purge possible sans allumer le moteur
Problématiques
- Pas d'alerte en cas de panne de la pompe selon le branchement
- Régulation de la vitesse de la pompe impossible selon le branchement
Débit de pompe recommandé pour les moteurs inférieurs à 2.0L de cylindrée: 80L/min, potentiellement inférieur pour les H4D et H4Bt, mais ne pas oublier de prendre en compte la longueur du circuit de refroidissement qui pourrait causer des soucis avec une pompe trop faible
Modifications de l'injection
Pistes d'optimisation:
- Il semble possible de remplacer les injecteurs d'origine par des modèles plus avancés, offrant une meilleure atomisation du carburant et mieux dimensionnés pour optimiser le fonctionnement à l'éthanol. Le rendement serait potentiellement amélioré: réduction de la consommation et du niveau de pollution. Nécessiterait une reprogrammation du calculateur.
- Utilisation de deux injecteurs par cylindre, 1 par valve au lieu des injecteurs double spray d'origine visant les deux valves en même temps. Nécessiterait une modification de la culasse pour accueillir les deux injecteurs, un collecteur d'admission sur-mesure, une rampe d'injection sur-mesure, des modifications électroniques et une reprogrammation du calculateur.
Reprogrammation du calculateur
L'E85 ayant une résistance au cliquetis meilleure que l'E5/E10 (RON supérieur à 100 contre 95 ou 98), il serait possible grâce à des modifications de la cartographie d'injection et d'allumage d'obtenir plus de rendement du moteur. Le but recherché ici n'est pas la puissance mais uniquement l'économie de carburant.
En cas d'abus des deux techniques suivantes, on pourrait exposer le moteur à de sérieux risques de cliquetis:
- Modifier l'avance d'allumage pour tirer plus d'énergie de chaque unité d'E85.
- Appauvrir légèrement le mélange (λ>1.00) pour limiter les pertes de carburant imbrûlé et, par conséquent, améliorer légèrement le rendement.
Fonctionner sur un mélange pauvre invoque des problématiques importantes concernant le fonctionnement du catalyseur et le contrôle technique:
- L'efficacité de conversion maximale d'un catalyseur trois voies (comme présent sur les Twingo III) est obtenue sur un mélange très légèrement riche et très proche du rapport stœchiométrique.
- Un environnement réducteur est obtenu en mélange riche tandis qu'un environnement oxydant est obtenu en mélange pauvre
- Les oxydes d'azote sont réduits en diazote et en dioxyde de carbone : 2NO + 2CO → N2 + 2CO2.
- Les monoxydes de carbone sont oxydés en dioxyde de carbone : 2CO + O2 → 2CO2.
- Les hydrocarbures imbrûlées (HC) sont oxydées en dioxyde de carbone et en eau : 4CxHy + (4x+y)O2 → 4xCO2 + 2yH2O.
- Les NOx sont très mal convertis par les catalyseurs trois voies dans un environnement oxydant (mélange pauvre).
- Le calculateur des Twingo III possède une stratégie consistant à osciller entre très légèrement riche et très légèrement pauvre, dans le but d’accroître le taux de conversion du catalyseur et respecter les normes de pollution.
Partant de ces postulats, faire tourner constamment le moteur en mélange pauvre serait très problématique pour le fonctionnement optimal du catalyseur et pour le contrôle technique. Le véhicule rejetterait plus de NOx que d'origine, le catalyseur n'étant plus en mesure de les traiter correctement.
Allumage LASER
L'idée serait de remplacer les bougies d'allumage conventionnelles par un système d'allumage du carburant par LASER.
- Potentielle amélioration de l'économie de carburant .
- Potentielle amélioration de la puissance.
- Potentielle réduction de certaines émissions polluantes.
Problématique: aucun système de ce type n'est pour le moment disponible au grand public. Il ne s'agit aujourd'hui que de travaux de chercheurs.
L'implémentation d'un système LASER en rétro-fit semble tout à fait possible et ne nécessiterait aucune modification de la culasse: il suffirait simplement de respecter le facteur de forme original des bougies traditionnelles. La connectique existante servant à envoyer un signal aux bobines d'allumage pourrait tout à fait être réutilisée pour être branchée au contrôleur du LASER et conserver une compatibilité.
Pour bénéficier du maximum de cette technologie, des modifications et d'optimisations de la table d'avance d'allumage seraient à prévoir. Des modifications de la table d'injection et de la richesse seraient aussi à explorer, l'allumage LASER offrant des bénéfices importants en particulier sur les mélanges pauvres.
Sources et pour plus d'informations
Ce wiki est basé sur les sources suivantes:
- Revue Technique Automobile (RTA) Twingo III 1.0 SCe 70
- Introduction to service, Smart 453
- Notice Smart 453
- Notice Twingo III
- Brochures Twingo III
- Courbes de couple et puissance sur le site automobile-catalog
- Site web Evilution
- Avertisseur de perte de pression des pneus sur le site Renault
- Vidéo de présentation du moteur 1.0 SCe sur YouTube
- Vidéo de présentation du moteur 1.0 TCe sur YouTube
- Vidéo de présentation du moteur 0.9 TCe sur YouTube
- Moteurs H Renault-Nissan sur Wikipedia
- Présentation des différents types de chaînes de distrbution sur le blog de Febi Bilstein
- Expérience personnelle d'un utilisateur (AntonioBiscuit) ayant débranché volontairement son boitier de conversion éthanol
- Twingo III 1.0 SCe poussée à l'extrême (Twingo Cup) sur YouTube
- Affichage particulier du LTFT/STFT pour certains calculateurs Renault
- Effets de l'E85 VS essence 93 sur l'huile (USA, Forum)
- Législation concernant la conversion éthanol sur Legi France
- Sélecteur d'huiles Total
- Sélecteur d'huiles Castrol
- Sélecteur d'huiles Motul
- Sélecteur d'huiles Yacco
- Pièces détachées Bosch (Bosch Aftermarket)
- N-Heptane sur Wikipedia
- Éthanol sur Wikipedia
- Essence (Hydrocarbure) sur Wikipedia
- Graph your oil
- Afton Chemical Specifications Handbook, Septembre 2019 (PDF)
- https://www.researchgate.net/figure/Pred...
- Présentation du moteur 1.6 DCi (R9M)
- Références de pneus sur le site Michelin
- https://www.boschautoparts.com/p/fuel-pu...
- Explication des normes de liquides de freins DOT
- À quelle fréquence changer son huile ?
- Hyundai: Qu'est-ce que Smart Stream ?
- Wikipédia: Pot Catalytique
- Allumage LASER
- https://www.quechoisir.org/comparatif-vo...
- https://www.tcs.ch/mam/Digital-Media/PDF...